折疊屏手機被認為是未來智能手機的發展方向,根據目前的爆料來看,蘋果內部正在測試折疊屏手機的耐用性,將推在明年推出其首款折疊屏iPhone。
除了折疊屏iPhone,現在最新消息顯示,蘋果還將打造一個能折疊的相機系統。
據報道,蘋果近期向美國專利和商標局(USPTO)提交了一項新的專利申請,名為 "可彎曲電子設備的相機系統"。

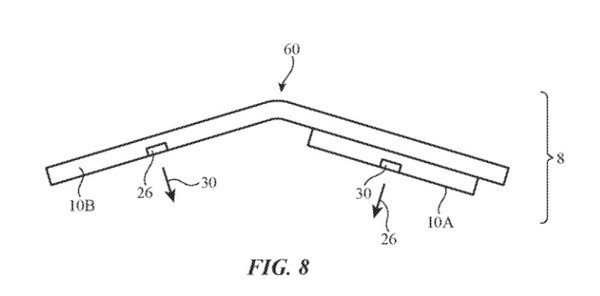
專利顯示,這款可彎曲的電子設備可以具有由柔性織物、柔性聚合物或其他柔性材料形成的柔性外殼。攝像頭可以安裝在外殼上,外殼可以被彎曲成不同的形態,例如外殼具有面向外部區域的凸面的配置和外殼具有面向外部區域的凹面的配置。
而蘋果申請“折疊相機系統”是為了實現更多的相機捕捉方向,通過彎曲外殼來達到不同角度的拍攝,從而能夠拍攝出三維圖像。
從專利介紹來看,這個“折疊相機系統”應該是主要用于優化全景圖像的拍攝方式和效果。
根據之前供應鏈傳出的消息來看,富士康正在為蘋果測試兩款可折疊設備,其中一款可能就是這個專利顯示的“折疊相機系統”,而另一款應該就是折疊屏iPhone。
根據爆料,蘋果的首款折疊屏iPhone將采用類似三星Galaxy Z Flip的上下翻折方案,并且取消了多年“劉海屏”,達到了真正的全面屏效果。
雖然以上爆料的準確性無法保證,但是作為蘋果的首款折疊屏手機還是非常值得我們期待的。業內人士預測蘋果將在2022年正式推出,而這次曝光的“折疊相機系統”也有望一同亮相。
文章內容僅供閱讀,不構成投資建議,請謹慎對待。投資者據此操作,風險自擔。
海報生成中...
海藝AI的模型系統在國際市場上廣受好評,目前站內累計模型數超過80萬個,涵蓋寫實、二次元、插畫、設計、攝影、風格化圖像等多類型應用場景,基本覆蓋所有主流創作風格。
IDC今日發布的《全球智能家居清潔機器人設備市場季度跟蹤報告,2025年第二季度》顯示,上半年全球智能家居清潔機器人市場出貨1,2萬臺,同比增長33%,顯示出品類強勁的市場需求。